教培行业收20.65万件投诉!哪些企业和问题躲过了315晚会

最近一年,教培行业成了讨论的焦点,大众媒体对跑路、退费、虚假宣传等老生常谈的问题从年头持续关注到年尾。去年年底,教培行业还接连被消费者协会和官媒点名。
往年315晚会就曾经曝光过培训机构,今年的315晚会是否还会继续曝光教培行业相关问题,又有哪些机构和投诉热点可能登上晚会?
1
教育培训服务投诉数量达20.65万件
这些教育企业登上年度红黑榜
今天,中国消费者报公布12315大数据。据统计,2020年全国市场监管部门通过全国12315平台、电话、传真、窗口等渠道共受理消费者投诉举报咨询2130.32万件,投诉举报共涉及企业287.86万家,其中在线教育培训行业占比较高,并较2019年有所上升。
教育培训在服务投诉数量中排名也比较靠前,共20.65万件,较2019年上涨约73.34%。
根据黑猫投诉数据,从全年来看,2020年教育培训行业的投诉量呈现逐月剧增情况。
3月10日,黑猫投诉发布2020年教育培训行业年度红黑榜&满意度榜。红黑榜是通过“有效投诉量”、“回复量+确认完成量”、“回复率”、“完成率”、“响应时间”等多个维度综合得出。
黑榜前三名分别为鱼乐贝贝、渊大教育和魔力恐龙学堂。
据悉,鱼乐贝贝为一家知名的婴幼儿水育连锁品牌,在上海、北京、西安、济南、沈阳、南京等全国多个城市和地区均出现“跑路”现象。截至目前,鱼乐贝贝在黑猫投诉平台上的投诉量有445条,仅回复一条。
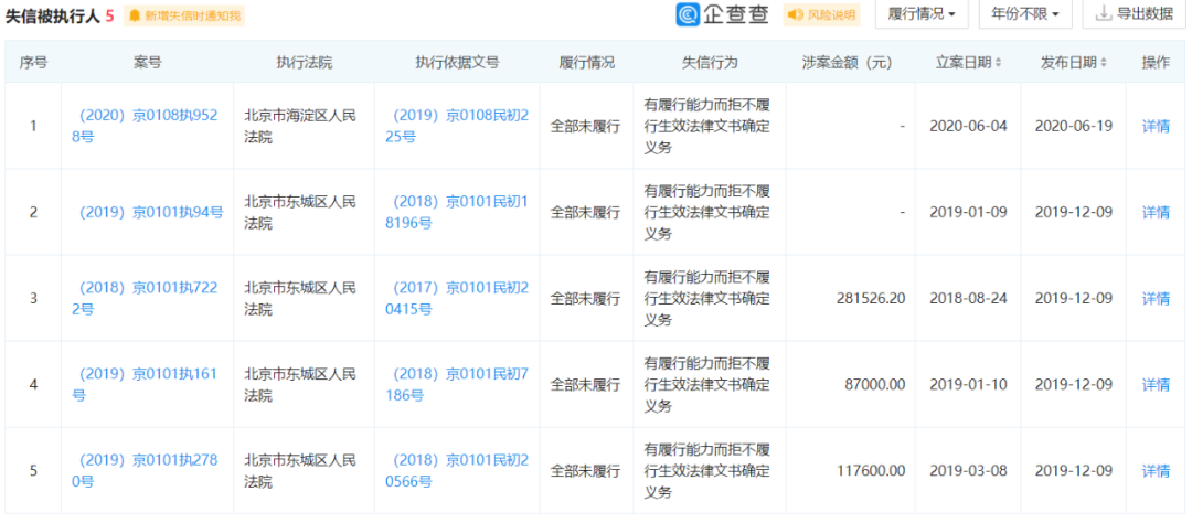
企查查页面显示,该品牌所属企业为北京鱼乐贝贝教育科技有限公司,注册资本500万元。公司涉及司法案件381个,超过77%的案件为被告,48.56%的涉案案由为服务合同纠纷。
目前公司已经被列入经营异常,并多次成为失信被执行人,执行标的数十万元。公司法人张节和实控人宋继武也被限制高消费。
渊大教育为一家成人培训公司,成立于2010年,主要为各行业人士提供一级注册消防工程师、二级注册消防工程师、心理咨询师、人力资源管理师、注册安全工程师以及继续学历教育等考试培训。公司注册资本800万人民币,实缴资本50万人民币,法定代表人为李建东。
在黑猫投诉平台上,渊大教育相关投诉有372条,大多得到回复,但已完成的投诉仅18条。此外,公司国家企业信用信息公示系统显示,渊大教育曾三次被列入经营异常名录,后被移出,并曾两次遭行政处罚。
2020年3月18日,北京市朝阳区市场监管局对渊大教育作出罚款30万元的行政处罚。原因是渊大教育在公司网页中宣传“2019年4月10日渊大教育取得国家卫健委直属培训机构”、“中国消防协会单位成员”等宣传内容,且该公司在限期时限内无法提供上述宣传依据。广告由该公司员工设计制作并上传。朝阳区市场监管局责令渊大教育停止发布违法广告,在相应范围内消除影响。
2019年10月18日,渊大教育又受到警告和罚款3万元的行政处罚,原因是有消费者向朝阳区市场监管局投诉,反映渊大教育不及时退还预交的培训费用。同时,在与消费者签订的《课程服务协议》中存在“学员因自身原因提出终止听课的,学校不退还学员任何费用”,属于利用格式条款加重消费者违约金的行为。截至立案时,渊大教育使用上述合同与学员共签订了大概4000份左右,收取费用约2千万,获利无法计算。
而魔力恐龙为北京大咖星球科技有限公司旗下的一款AI启蒙教育App。此前,品牌方为激励用户购买推出了“打卡0元学”的活动,承诺在按时完成后全额返还学费。但在去年年底平台资金出现问题,家长们不仅完成打卡后迟迟拿不到学费返现,平台的许多课程也暂停了。
在黑猫投诉平台上,该品牌收到投诉有341条,回复和完成量均为0。
2
最常见投诉:
退费难、培训贷
日前,南都民调中心消费舆情与公众生活研究课题组对在线教育投诉展开监测分析,数据综合了南都热线等自有平台,以及21cn聚投诉、投诉直通车、黑猫投诉等平台消费投诉数据,汇总了2020年3月1日至2021年2月28日6271件针对在线教育机构的投诉,共涉及91家在线教育机构。
分析显示:线上教育的投诉主要集中在退款问题、培训贷、虚假/误导宣传以及霸王条款四个方面。
在数千条投诉中,退款问题最多有4895条,占比达78.06%,其次就是占比33.57%的“培训贷”问题;另外有30.89%的投诉者反馈自己被在线机构的虚假/误导宣传所欺骗;14.05%的投诉者则表示自己遭遇到霸王条款。
上课体验与宣传不相符是很多消费者退费的原因,退费过程中不少消费者都因合同里的格式条款和平台资金问题迟迟等不到退款。在以往的报道中,大部分消费者都在机构销售人员的催促下迅速签订合同,直到退费时才得知合同中要求“申请退款要扣25%的服务费”甚至“自行取消课程不予退款”等霸王条款。数据显示,在调查的91家机构中,多达71家因霸王条款问题而被消费者投诉。
“培训贷”在培训机构也很常见,不仅在学员消费能力较高的成人培训领域,在竞争激烈的K12教育中也有机构诱导家长贷款,为了孩子的未来,不少并不富裕的家庭在销售人员的指导下进行了贷款,支付了上万元甚至十几万元的学费。华尔街英语和学霸君都是典型的例子,疫情防控期间华尔街英语不少分部停课,学霸君直接倒闭,学员无法上课还需要继续替培训机构偿还贷款。
数据分析结果显示,91家机构中,多达61家因培训贷问题而被消费者投诉,33.57%的投诉者反馈自己曾遇“培训贷”。投诉者反映,工作人员的话术是“学费分期”,但实际上是用自己的身份通过合作的第三方平台进行贷款。
中不难看出,对于许多消费者来说,合同和销售人员的话术中存在许多陷阱,如果缺乏经验很容易入坑。虽然这类问题由来已久,但在企业顺利经营的情况下往往被行业的繁荣淹没,一遇到疫情等突发状况,长期存在的隐忧便迅速爆发。消费者对行业的信任度也一落千丈。
曝光此类问题有利于消费者避开陷阱,防止被骗,也有利于整治教培行业的风气,规范教培企业的经营行为,让消费者慢慢重拾对行业的信任。
附:投诉数量及类型统计表
文中数据图来源:黑猫投诉平台、二三里资讯
教培行业观察致力于
最前沿的教育趋势、方法论、经典案例解读。
如果您的项目寻求报道,
或是想要爆料和投稿
添加教培君(微信号):eduguancha01

没看够?加入教培君核心群
直接开聊

文章来源:
版权声明:转载教培行业观察的原创文章,需注明文章来源以及作者名称。公众号转载请联系开白小助手(微信号:eduguancha01)。违规转载法律必究。
扫描二维码,第一时间获取教培行业的资讯和动态。
从此和教培行业观察建立直接联系。
相关推荐
本栏目文字内容归jpguancha.com所有,任何单位及个人未经许可,不得擅自转载使用。
Copyright ©教培行业观察 | 京ICP备20027311号-2
参与评论